本文へスキップ

インチネジも特殊材も!まずは御相談下さい

各種カード払い・代引決済対応

日本全国迅速に発送致します

インチネジ・特殊素材ネジ等の相談もお気軽にどうぞ!

盗難防止用
埋込アイボルトセット


 バイク盗難防止用アイボルト写真
 M42アイボルトセット
標準セットの内訳
アイボルト+ナット+平ワッシャー(各ユニクロメッキ品)の3点セットです

さらに強化したSuper-Zシリーズなどラインナップいろいろ!
ネットショップへ 二輪車盗難防止にはこれが一番!

携帯電話は大きさの比較用で製品には含まれません。念のため…
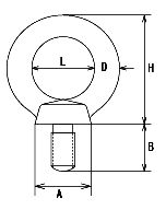
盗難防止アイボルト寸法表
寸法表
ネジ径 A B D H L
M42 80 65 35.5 150.5 80

 さらに深く埋め込みたい方には強力ロングシャックルがオススメです!

線径25mm・内幅50mm・ボルトセンターよりRの内側まで250mm・全長約310mmです。

材質は高層ビルを支える高力ボルトと同じSCM435合金の焼入鋼です。(見かけだおしの中空ではありません)
8ton荷役用ロングシャックル

使用荷重8tonですから…8トンで引っ張り続けても切れる事はありません。

ネットショップへ 二輪車盗難防止にはこれが一番!